- 前言
- Paper: FM Stereo Receiver Based on Software-Defined Radio
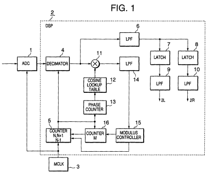
- US7181018B1 Digital Stereo Recovery Circuitry and Method for Radio Receivers
- US7079657B2 System and Method of Performing Digital Multi-Channel Audio Signal Decoding
- US5404405 FM Stereo Decoder and Method Using Digital Signal Processing
- US8406717B1 Digital FM Stereo Receiver Architecture to Recover Carrier Information Based On Stereo or Mono Signals
- US5471534 Devices, Systems and Methods for Composite Signal Decoding Employing Interpolation Filter
- US4723288 Stereo Decoding by Direct Time Sampling
- US5239585 Devices, Systems, and Methods for Composite Signal Decoding
- US6901146 All-Digital FM Stereo Demodulator and Demodulation Method
- US4630299 Digital Circuit for Decoding Digitized, Demodulated FM Stereo Signals
- US20060251196 Recovering a Signal Without a Phase Locked Loop
- US6714651B2 FM Stereo Signal Demoudulating Apparatus and Method
- 总结
前言
在完成了FM解调后, 我考虑是开始搞硬件呢? 还是搞立体声解调. 于是我花了一天的时间来研究一下看有没有思路, 结论是: 完全不明白该怎么写. 好吧我还是老老实实搞立体声解调吧~
我在wiki上看到了详解,FM broadcasting - Stereo FM. 我的理解是这样的, 对于非立体声FM来说, 就是音频(基带)直接FM调制到100多M, 而立体声的FM对音频(基带)信号做了手脚, 可以看下面这个图, 图来自wiki.

低于15k的范围为L+R的音频, 也就是非立体声解调用到的部分. 频率较高的部分中, 一个19k的导频(pilot tone)和23k至53k的L-R音频构成了立体声FM的全部分. 他俩就是用来将L和R声道分开的. wiki上说L-R信号是DSB-SC调制的, 我的理解是L-R乘了一个频率的正弦波, 然后将不用的滤掉, 也有人说就像是AM调制. 至于这个什么导频, wiki上是这样说的
A 19 kHz pilot tone, at exactly half the 38 kHz sub-carrier frequency and with a precise phase relationship to it, as defined by the formula below, is also generated. This is transmitted at 8–10% of overall modulation level and used by the receiver to regenerate the 38 kHz sub-carrier with the correct phase.
那个L-R信号是这个19k翻倍的38k信号来调制的. 而且还与之有精确的相位关系.
-
为毛不直接给一个38k? 除一半放那里蛋疼不?
这个问题我的理解是如果直接给一个38k, 那它就在音频的两个瓣之间, 不容易提取. 而且这个19k信号可以用于判断后边L-R立体声信号的强度.
-
这有啥相位关系? 我自己搞一个38k出来解调不行么?
这个问题我研究了一段时间, 最后在通信系统 Simon Haykin这本书中找到了答案, 书中 2.3.2 相干检测 中说, 如果用于解调的本振与载波频率之间有相位差, 那么解调出的信号的幅度就会变为cos(相位差)这么大, 因此如果这个差是变化的, 那就幅度调制了. 如果碰巧是某个值, 则输出为0.
而频谱后边53k之后那一堆是数字信号, 本次不研究. OK, 于是我就踏上了翻现成方法的旅途, 找到Silicon Labs的FM Tutorial找到一幅图.

这图好评啊, 令完全理解不能的我一下子就理解了该如何做. 其中m(t)就是已经fm解调了的信号. 那个rds和57k是数字的,不管它. 那么剩下的都不难, 一堆滤波器和乘法加法. 但那个倍频器是啥? 我学到现在怎么没听说倍频是怎么玩的? 我只听说有种叫(D)PLL的神秘东西可以倍频并锁相, 难道要实现一个DPLL么?
Paper: FM Stereo Receiver Based on Software-Defined Radio
在这篇paper里, 武汉大学的同学对于这个倍频采取的方法是"2 octave", 我搜了半天, 无解, 于是研究了一下里面fpga的连线图, 就是一个简单的平方. 平方可以倍频? 把波形的下半部分移到上半部分就倍频了.
Frequency of output of full-wave rectifier
Why does rectification of a digital signal double the frequency content?
这样子做有一些问题, 首先是dc offset, 然后这个正弦波肯定不如原来纯. 那么还有啥先进的方法呢?
US7181018B1 Digital Stereo Recovery Circuitry and Method for Radio Receivers
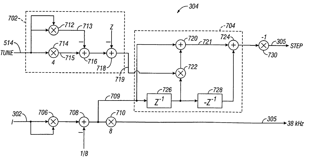
找了一圈很无奈的我决定翻专利, 痛苦... 在这个Cirrus Logic公司的patent中, 描述了一个pilot doubler的东东.

左下角I为19k输入, 然后是一个自乘, 也就是平方, 然后加上一个参数(去除DC), 接下来再乘8, 然后就得到了38k...

不过这个19k信号并不是直接BPF滤波出来的, 而是由DPLL提取的, 然后这两之间还有某些交互. 但L-R信号, 确实是19k直接平方去DC后乘解调后信号得到的.
那么这个方法也可以理解为PLL法.
US7079657B2 System and Method of Performing Digital Multi-Channel Audio Signal Decoding
专利为高通的. 在摘要部分说是用于BTSC解调的, BTSC是啥? Encoder's Spare Channel Embeds Whole-House Stereo Audio in Satellite Set-Top-Box Designs Stably and Cost-Effectively ADI的这篇文章介绍了一下, 和FM Stereo差不多哦~AD1970的说明书也说BTSC的立体声与FM 立体声类似, ADI说了三种方法
- 直接晶振. 缺点很明显.
- 用PLL.但是说这个divider需要的除数要求比较高, 所以不适合.
- 在PLL的反馈路径里加一个AD71028来稳定,辅助生产Master Clock
ok, 看到BTSC和我们这个还是有区别, 看ADI的意思, 这个就需要PLL了. 我们回到这个专利

可以看到在右下输入信号乘一个信号后出L-R. 文中提到这个恢复的信号需要控制在3度以内(当然这是BTSC), 图中124为8阶IIR BPF, 125这个DPLL由一个PD, cos LUT, loop filter构成. 然后再用一个cos LUT和10阶椭圆低通126来输出L-R. 然后他提到还有具体细节在Scaling adjustment to enhance stereo separation 和 Scaling adjustment using pilot signal 中. 但我看了一下, 和我关心的东西无关. 5555, 高通你们骗我.
当然这还是用的类PLL技术.
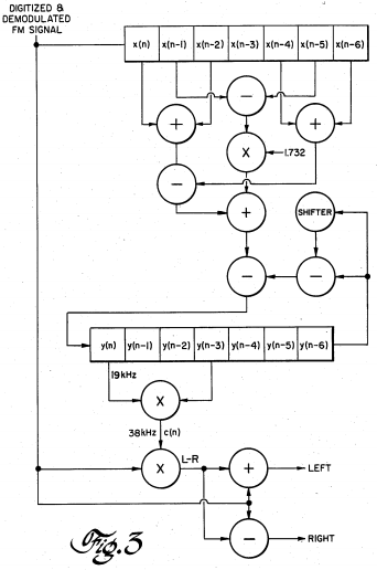
US5404405 FM Stereo Decoder and Method Using Digital Signal Processing
公司为Hughes Aircraft Company, 做飞机的公司搞这个干啥? Hughes @ wiki 这公司NB, 什么直升机, 卫星, 导弹. 在1994年时搞了DirectTV, 所以在93年搞一个这样的专利可以理解.

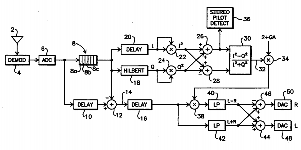
摘要中说, 他完成了一个不需要PLL的产生38k的方法. 首先先在analog区解调, 然后数字化, 在34那个位置似乎是产生了38k, 下面是传统的产生L与R信号方法. 中间那个Hilbert变换是什么? 老老实实看说明吧.
文中描述8位置为一连串FIR BPF, 当然他说实现有可能是由LP,HP,BP组合来实现的, 在19k频率的增益为1, 另外强调是线性相位的(FIR不都是么? 我理解错了?). 为了同步, 下面放了一个用于delay的FIR. 接下来在12那个位置, 19k被除去(直接减就可以去掉吗?). 18这是个FIR滤波器, 实现了Hilbert变换, 他说Hilbert对这个19k窄带信号实现了90度相移,而这个FIR的长度需要酌情选择, 他选择15. 这样的话, 这两个信号就是正交的了(哦~原来如此, 这似乎叫什么正交变换吧?)
然后用三角函数关系来得到38k, 首先I和Q先自乘(平方得到38k?), 然后再一边减一边加, 在30除法器那个位置形成那样的公式, 那么I^2-Q^2就是38k. 这个原理如下图.

而I^2+Q^2按三角函数来说是1, 那么就是38k的幅度. 这个信号接下来要乘原始信号来恢复L-R, 但其幅度波动会影响最终的结果, 因此一般都是用clipping的方法, 但clipping会产生谐波, 干扰L-R信号, 因此除I^2+Q^2可以归一化.
接下来乘2, 据说是传统方法, 为了和L+R匹配. GA为Gain Adjust的意思. OK, 至此核心部分就这些了. 这个方法是很容易理解的, 计算起来也不是很复杂, 很有吸引力哦~, 因此也可以理解为啥这个专利目前还是已生效状态.
US8406717B1 Digital FM Stereo Receiver Architecture to Recover Carrier Information Based On Stereo or Mono Signals
此乃Marvell公司的专利, 08年还是蛮新的哦.

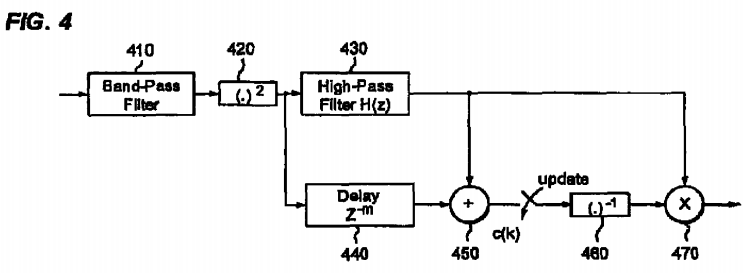
文中的方法为, 首先由410来做BP, 然后由420做平方,

这公式神奇啊, 没有谐波分量吗? 经查确实是三角恒等式. 然后再经过430滤除低频(直流), 但这样子还不够, 38k的幅度由于立体声协议的要求, 多普勒效应等, 都会造成38k的幅度随时间变化, 那么就需要消除这种影响.
方法是由450来将平方后信号中的38k除去, 而后在460取反, 那么这里的信号就是1/噪声, 然后再乘38k, 这样子就把这个噪声去掉了.(这和BPF有毛区别?) 那个开关来控制是否使用的这个功能, 还可以定期更新, 等.
US5471534 Devices, Systems and Methods for Composite Signal Decoding Employing Interpolation Filter
来自TI, 看到配图后我震惊了, TI有诚意啊. Marvell那图画的真是烂啊.

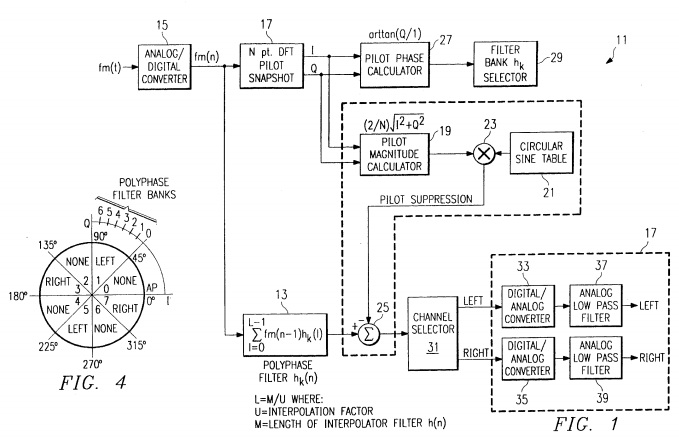
果然TI延续了写说明书的一贯作风, 看着头疼, 不知所云. fm(t)是已解调的基带信号, 采样率为152k, 为毛是这个呢? TI说有三点:
- 在Nyquist以上()
106k/2 = 53k 见本文第一幅图. - 这是pilot 19k的整数倍(8)
这有啥优势呢? TI解释说这样做出来的DFT 泄漏少. 从而可以通过DFT结果较精确的量出幅度和相位. - 有利于判断什么时候更新音频输出?
接下来在17位置做19k这一点的DFT, 这里输出的I与Q为频域的也就是DFT的输出, 然后求相位, DFT长为128, 这个DFT的计算是有固定的周期的, 首先要保证Pilot最多会在DFT之间飘移6.43度, 而pilot最多会偏出2Hz, TI说这相当于720度/秒, 也就是8.93ms偏6.43度. 然后用8.93ms和152k的fs算出每1357(计算: 8.93/(1/152k) )个sample算一次DFT. 说实话我完全没看懂这是怎么算出来的.
27这个位置算出的相位被用于选择13这个滤波器的核, 而19这个位置算出的19k的幅度被用于产生一个19k信号, 在21中, 共有4个值(sin(n * pi/4), n=1,3,5,7)(明明是8个啊, 152k的采样率, 19k的信号, 难道不是8个一个周期吗?莫非产生的是38k的信号?) 这4个值的幅度由19控制, 然后由25与13的输出一起计算来去掉原信号中的19k.
然后...然后TI给出了源代码...而且每个语句都有注释, TI这是啥意思? 发个专利专门宣传C30这个DSP吗? 另外关键算法竟然是用汇编写的, 于是我默默打开了TMS320C3x User’s Guide

MPYF 的意思是后边两个浮点数相乘, 放在后面的寄存器里.
LDF load float, 前放后.
LDI load integer, 前放后.
SUBF 的意思是浮点减, 前减后,结果放后边.
NOP 后边这个意思是进行一次dummy read, 应该是让指针+1的意思.
那么这一段的意思是:幅度 * 4个值的振荡器(为前述的sin(x)), 也就是得出了修正的38k频率. 然后用R0中的值减去它.
然后该R2的值根据R1中的值来选择是输出左或右声道. 不是要恢复出38k然后mix的吗? 这么选择不同的数据就可以把L和R都搞出来了? 这时我想到了前面文档关于那个滤波器13说了一堆, 什么插值, 什么相位, 这滤波器如此神奇?
TI说滤波器13由一个polyphase的LPF构成, 通带截至频率为53k, 阻带为99k. 126抽头. 但由于同时做7:1插值, 所以只需要18个抽头. 在每次DFT结束后会根据pilot的相位更新这个FIR的核.
OK, 在研究了一段时间后我发现完全不可理解, 我明白polyphase的这种滤波器可以在滤波插值的同时做下变频, 但那个L+R之类的东西要做加减法的, 滤波器连这个也顺便搞定了么? 在看到ref列表中有TI一个1991年的专利, 好吧, 我研究下那个.
1991年的US5239585文中开头提到US4723288这个专利, 这个是Motorola(现在是Freescale)在1986年的专利, OK, 那先搞这个.
US4723288 Stereo Decoding by Direct Time Sampling
1986年~和我差不多大哦~
摘要介绍: 根据导频的相位来对立体声信号进行采样, 左右声道可以直接采样得到. (这真tm神奇), 然后moto很热心的介绍了一下当年的prior art是怎么解调立体声的, 写了一整篇.

此图为moto的方案, 到C那个位置, 后边两个mixer取名为Sampler(采样器), 下面乘的是单位脉冲函数, 频率为38k, 与pilot用PLL同步, 也可以理解为再此ADC. 两个samper的周期差180度, 左声道为19k信号的45度和225度,右边为135度和315度. 然后LP后直接出L和R. moto给了个奇怪的公式, 这式子如何和那些东西联系起来的?

后边moto给出了个全数字的方案, 用一个DLL来做. 其中提到采样时钟为152k. 必须为76k且大于等于152k.
好吧我还是看看TI的这一篇吧.
US5239585 Devices, Systems, and Methods for Composite Signal Decoding
在摘要中, TI说这个方案不需要采样与Pilot的相位同步, 才用一个叫曲线拟合滤波器的东西来做插值, 而这个滤波器的核是由一个选择器确定的, 这个选择器由相位测量来获得本振与Pilot之间的相位差来选择滤波器的核. 因此可以不用同步, 且输出采样率也可以随便选.
那么这个和US5471534是差不多的原理.

然后TI讲了一下他对US4723288的理解.

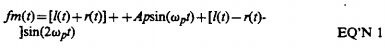
当38k的载波sin(2ωt)等于+1或者-1时, fm(t)分别等于2L和2R, 再加上19k的pilot. 由于载波是和19k的pilot同步的, 因此pilot就可以用于判断合适应该做sample. 那么这些位置位于pilot的相位在奇数 * 45的位置(也就是45 * 1 = 45度, 45 * 3 = 135度, 45 * 5 = 225度, 45 * 7 = 315度).
好吧, 很简单的道理.
TI也说了一下moto这个东东的缺点, 他说如果相位差了一点儿, 那么就会导致信号的衰减. 所以之前那个专利里, 用了一下PLL, 说这个东东不好实现, 而且这个实现还需要是38k的整数倍.
总的来说这个方案和US5471534的方案基本原理是完全一样的, 只是具体各部分的实现方式不同. 1000部分的功能就是之前的FFT功能, 3000中的和之前的基本一样, 2000中的有些小区别. 所谓的Curve-Fitting就是在插0值后进行的LP滤波.
为啥要插值呢? 滤波器126的采样率为152k, 也就是在19k时, 每周期8次, 如下图, 在0度, 45度, 90度....位置采样, 当然这是在内部采样时钟与输入信号完全同步的情况下. 那么这时, 把前述的那几个角度的采样点的值直接搞出来就是L和R了. 当不同步时, 如输入和采样差15度, 那么在45度采样的值实际上是在30度的, 如果想要45度的采样点, 则需要取得60度时的值, 那么这时, 就可以用插值来得出60度的值.

图中为插2个点(3:1 插值), 则共有8+8*N, N=2, 也就是24个点. 那么这时的分辨率为360/24=15度. 采样率由152k升为456k. TI说多用的是插6个点也就是7:1的插值, 分辨率为360/56=6.43度. 采样率为1.064M

首先, 设L为0, R为1, 那么equ1 就简化为 equ2, 但其中pilot已经删掉了, 加入了一个θ, 也就是要求的角度. 那么要30dB的分离度, 那么就是说此时要在采样L时得到一个比-30dB小的值, L的角度为45度, 对于38k来说就是90度, 因此得出equ3(左边为20log). 求出θ, 也就是说在38k情况下需要14.5度. 14.5度是多长时间呢? equ4求出为1.05us. 也就是说要达到947.5k的采样率, 6.2:1的插值, 就可以实现30dB. 因此TI选择7:1.
US6901146 All-Digital FM Stereo Demodulator and Demodulation Method
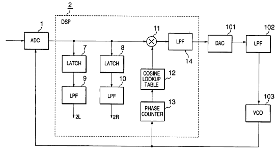
来自Mitsubishi的方案, 采用的方法与之前类似, 但他介绍说他是从一篇论文得到的灵感A DSP-Based Stereo Decoder for Automotive Radio, 这篇我没找到, 就只能看三菱写的读后感了.

可以看到是调整ADC的采样来获得L和R的, 他说在11位置, 产生的是VCO相位和输入pilot之间的差, 然后通过这个差来控制VCO来实现类似PLL的锁定相位的功能. 12,13构成的功能是根据输入的频率信号来分频除8, 后控制一个8个sample大小的LUT来产生mix用的信号. 两个频率一样, 相位不同的信号乘后产生一个固定的偏差? 参考三角恒等式的积化和差等式, 结果为一个倍频信号+ or - 一个固定的直流信号. 本方案里, 这个直流信号用来控制VCO.
而且13还控制着7和8的latch.

于是三菱进行了改进, 将原有的VCO部分用一个类似NCO的东东代替, 而ADC为固定采样率, 由MCLK(4.864M)来提供, 由于12这个table大小为8, 因此最佳的内部采样率为19k*8=152k(也就是8个采样一个周期,刚好为19k), 那么5和4应该为除32.
15这个东东控制着5和16这两个counter, 16的M值由15来设定, 同时15控制5是增加N还是减少N. 16由5来控制计数, 而M由15决定, 在每个M count, 16会复位且让5根据15的命令来增加或减少.
如当15设16为31, 然后M每31个count调整5从32至31. 那么就调整了参考频率的(M*N-1)/(M*N)(原文为(M-N-1)/(M-N)=991/992 ?)也就是增加了0.1%.
好吧, 我理理, 采样频率为4.864M, 那么对于38k信号来说是每个周期有128个采样(分辨率2.8度), 当抽取32时, 则是每个周期4个采样, 如果刚好同频率的话, 那么就刚好可以采出L和R, 如果有调整, 如是31时, 则是4.129个采样, 换句话说, 此时的内部采样频率为156.9k与之前在32时的152k相差4.9k 也就是差不多3%的样子. 而三菱说是0.1% ? 为啥?
然后三菱又介绍了一堆类似的方案.
US4630299 Digital Circuit for Decoding Digitized, Demodulated FM Stereo Signals
通用首先采用一个IIR滤波器来得到19k, 描述IIR的部分完全没有看懂, 既然后边的直接乘的, 那么在相位上肯定也是有一些补偿.

然后与delay 90度后的信号相乘, 也是采用积化和差公式

当两个角度一致时, 则sin*cos可以产生倍频信号, 其实这和之前的平方倍频是完全一致的道理. 该专利还有中文版本 CN86100932.
US20060251196 Recovering a Signal Without a Phase Locked Loop
CN1826741A 是中文版, 看到配图我也是醉了. 飞利浦你想怎么样?

首先他说US5404405 也就是Hughes Aircraft Company搞的那个方案的8那个BPF很复杂, 不容易实现. 29为BPF滤波器, 28为一个固定的振荡器, 22(可用cordic来实现)比较这两个信号的相位差后, 加这个相位差到信号21的相位上, 在加上一个用于补偿22的delay用的常数. 之后这个信号平方来倍频.
我的理解是, 比如本来BPF出来的信号是有噪声的, 鉴频器(应是比较抗噪声干扰的, 如经过LP)就可以得到与纯净信号的相位差, 然后调整这个纯净信号的相位与原信号同步, 则用这个19k来解调L-R就要好的多. 嗯~就是这么个意思.

飞利浦还有个这方案, 在前面的方案基础上加上30这个mixer, 那么30的输出就和之前三菱的方案有些类似, 但后边的处理是完全一样的吗? 如果有相位差, mixer之后不就是个直流了吗? 为什么还要鉴频呢? 飞利浦只解释说这样子29那个滤波器只需要设计一个LP就可以了, 不用BPF.
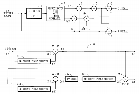
US6714651B2 FM Stereo Signal Demoudulating Apparatus and Method
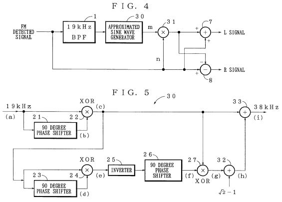
历时半个月的痛苦的看资料终于要结束了, 这是最后一个. 来自先锋.

这是号称之前的方案, 图4中, 30为倍19k -> 38k的东东, 其他的是老样子, 只是画法不同, 图5详细描述倍频方案. 这个图的理解需要结合下图.

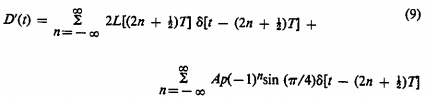
输入为3A波形, 3B为delay了90度的波形, 那么这两个做XOR后就是3C, 3D是3C delay 90度后的结果, 3E为XOR的结果(此时应该为19k*4=76k), 3F为inv后delay 90度的结果, 3C与3F做XOR的结果为3G. 然后乘上一个系数, 再与3C相加, 就得到了31这个波形图. 频率为38k.(真tm神奇). 然后先锋说这东西有缺点, 在图4, 31乘法器位置, 31的输出m与FM信号n相乘时, 这个乘法需要运算量大, 成本高.

先锋说在倍频器里, 去掉了点东东, 直接输出信号3C和3G. 那么这时, 就是乘1和0了, 而不是乘一个小数, 当乘1时不变, 乘0时反向, 然后要乘一个小数(这不还是要乘么?), 然后先锋解释说这个乘法可以近似为乘0.5, 也就是向低位移一位, 或者更接近一点儿 2^(-1)-2^(-4)-2^(-6)-2^(-7) (mathjax访问实在是慢T_T).
这是啥原理? 没有mathjax我就贴个图吧~


其实就是把f(m)乘进去而已~
总结
看的好辛苦, 先总结一下吧.
- PLL产生38k法.
- 三角恒等式法.
- 正交变换产生38k法或者说是二倍角法.
- 平方产生38k法或着说是积化和差法.
- moto/TI的固定相位采样法.
- 先锋的神奇++--XOR产生38k法.
当然这不是全部的FM Stereo解调算法, 还有很多专利我都没看或没怎么看懂, 另外还有n多paper我没看懂或没下到, 因此这只是冰山一脚.
Comments
comments powered by Disqus